We offer a variety of materials to build bushings, like carbon Steel, tool Steel, plastic, brass, aluminum.
Heat treatment can be added to to make it harder. Finishing like anodize, plating, poder coat, can be added, according to your requirements
Please fill the spaces with most of the information you have, once you submit this form, one of our Engineers will follow up with your request
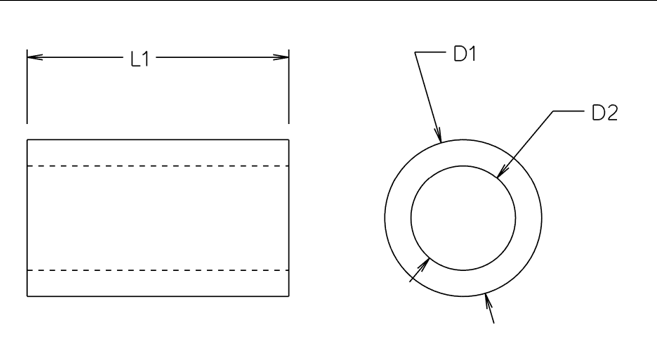
D1/ OUTSIDE DIAMETER=
D2/ INTERNAL DIAMETER=
L1 =
MATERIAL=
HEAT TREAT=
QTY:
NAME:
COMPANY NAME:
EMAIL:
PHONE #:
UPLOAD FILE >>>>
NOTES: